0909 006 435

Bộ chuyển đổi tín hiệu nhiệt độ 10JR

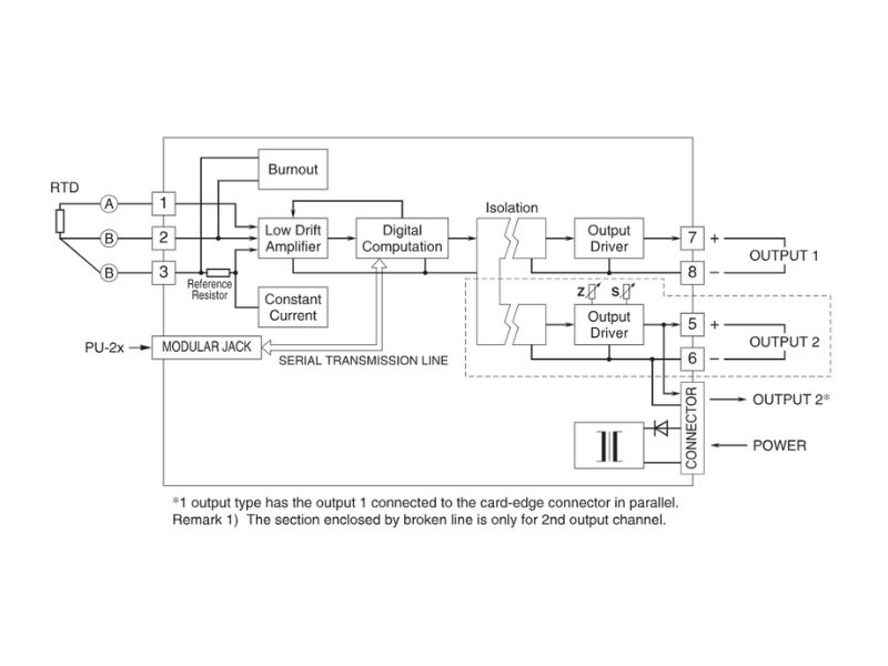
Bộ hiển thị tín hiệu nhiệt độ 10JR thuộc dòng series 10, giao tiếp trực tiếp với nhiều hệ thống DCS thông qua đầu nối. Đây là thiết bị có xuất xứ từ Nhật Bản, mang độ bền ổn định. Gồm 1 input cho ra 2 output cách ly.

Bộ chuyển đổi tín hiệu nhiệt độ 10JR
Bộ chuyển đổi tín hiệu nhiệt độ 10JR

Chức năng & Tính năng của Bộ chuyển đổi tín hiệu nhiệt độ 10JR:

  • Chấp nhận đầu vào trực tiếp từ RTD và cung cấp hai tín hiệu quy trình tiêu chuẩn
  • Dựa trên bộ vi xử lý
  • Field-programmable temperature range
  • Tuyến tính hóa
  • Bảo vệ kiệt sức
  • Kiểm tra vòng lặp thông qua lập trình viên cầm tay PU-2x
  • Đầu ra kênh thứ hai tùy chọn có sẵn ở các thiết bị đầu cuối phía trước và ở đầu nối Standard Rack

Ứng dụng điển hình

  • Lý tưởng cho phụ tùng thay thế nhanh chóng

Mô tả chung của Bộ chuyển đổi tín hiệu nhiệt độ 10JR:

INPUT – Tuỳ chọn 

  • 1: JPt 100 (JIS ’89)
  •    Pt 100 (HE ’89)
  •    Pt 100 (JIS ’97, IEC)
  •    Pt 50Ω (JIS ’81)

[1] ĐẦU VÀO RTD (2 hoặc 3 dây)

  • 1: JPt 100 (JIS’89) (Phạm vi sử dụng: -200 đến +500°C, -328 đến +932°F; khoảng nhiệt độ tối thiểu: 30°C, 54°F)
  • 3: Điểm 100 (JIS’89) (Phạm vi sử dụng: -200 đến +650°C, -328 đến +1202°F; khoảng nhiệt độ tối thiểu: 30°C, 54°F)
  • 4: Pt 100 (JIS’97, IEC) (Phạm vi sử dụng: -200 đến +650°C, -328 đến +1202°F; khoảng nhiệt độ tối thiểu: 30°C, 54°F)
  • 5: Pt 50 Ω (JIS’81) (Phạm vi sử dụng: -200 đến +500°C, -328 đến +932°F; khoảng nhiệt độ tối thiểu: 60°C, 108°F)
  • 6: Ni 508,4 Ω (Phạm vi sử dụng: -50 đến +200°C, -58 đến +392°F; khoảng nhiệt độ tối thiểu: 20°C, 36°F)
  • 0: Định rõ
Bộ chuyển đổi tín hiệu nhiệt độ 10JR
Bộ chuyển đổi tín hiệu nhiệt độ 10JR

[2] ĐẦU RA 1

Current

  • A: 4 – 20 mA DC (Trở kháng tải tối đa 600 Ω)

Voltage

  • 6: 1 – 5 V DC (Trở kháng tải tối thiểu 500 Ω)

[3] ĐẦU RA 2

  • 0: Không có
  • Điện áp
  • 6: 1 – 5 V DC (Trở kháng tải tối thiểu 5000 Ω)

[4] ĐIỆN ĐẦU VÀO

  • Nguồn DC
  • R: 24V DC
  • (Dải điện áp hoạt động 24 V ±10 %, độ gợn tối đa 10 % trang/p.)

Đặc điểm kỹ thuật chung của Bộ chuyển đổi tín hiệu nhiệt độ 10JR:

  • Sự lắp đặt: Gắn trên giá đỡ; truy cập thiết bị đầu cuối thông qua các thiết bị đầu cuối vít ở phía trước và qua đầu nối cạnh thẻ ở phía sau; vỏ thiết bị đầu cuối được cung cấp
  • Sự kết nối
  •   đầu vào: Thiết bị đầu cuối vít M3.5 (mô-men xoắn 0,8 N·m) 
  •   đầu ra: Đầu nối cạnh thẻ và đầu nối vít M3.5 (mô-men xoắn 0,8 N·m) 
  •   Đầu vào nguồn: Được cung cấp từ đầu nối cạnh thẻ
  • Thiết bị đầu cuối vít: Thép mạ niken
  • Vật liệu vỏ: Nhựa chống cháy (màu đen)
  • Sự cách ly: Đầu vào thành đầu ra 1 đến đầu ra 2 thành nguồn
  • Đầu ra quá mức: Khoảng. -10 đến +120 % ở 1 – 5 V
  • Tuyến tính hóa: Tiêu chuẩn
  • Điều chỉnh: Bộ lập trình (model: PU-2x); Loại RTD (chỉ từ Pt 100 đến JPt 100), nhiệt độ. phạm vi, số 0 và khoảng, mô phỏng đầu ra, v.v.
Bộ chuyển đổi tín hiệu nhiệt độ 10JR
Bộ chuyển đổi tín hiệu nhiệt độ 10JR

Thông số đầu ra của của Bộ chuyển đổi tín hiệu nhiệt độ 10JR:

  • Điện trở dây dẫn tối đa: 20 Ω mỗi dây (3 dây)
  • Cảm biến hiện tại: 2 mA (Pt)
  • Nếu không được chỉ định, phạm vi đầu vào sẽ được hiển thị bên dưới.
  • 1: JPt 100 (JIS ’89) 0 – 100°C
  • 3: Pt 100 (JIS ’89) 0 – 100°C
  • 4: Pt 100 (JIS ’97, IEC) 0 – 100°C
  • 5: Pt 50 Ω (JIS ’81) 0 – 200°C
  • 6: Ni 508,4 Ω 0 – 100°C

 Cài đặt của Bộ chuyển đổi tín hiệu nhiệt độ 10JR: 

  • Mức tiêu thụ hiện tại: Khoảng. 60 mA với điện áp đầu ra 1
  • Xấp xỉ. 90 mA với đầu ra hiện tại 1
  • Nhiệt độ hoạt động: -5 đến +55°C (23 đến 131°F)
  • Độ ẩm hoạt động: 30 đến 90 %RH (không ngưng tụ)
  • Lắp đặt: Giá tiêu chuẩn 10BXx
  • Trọng lượng: 220 g (0,49 lb)

Hiệu suất hoạt động của Bộ chuyển đổi tín hiệu nhiệt độ 10JR:

  • Sự chính xác: ±0,1 % hoặc ±0,1°C (±0,18°F), tùy theo giá trị nào lớn hơn
  • Nhiệt độ. hệ số: ±0,015 %/°C (±0,008 %/°F)
  • Thời gian đáp ứng: ≤ 0,5 giây. (0 – 90%)
  • Phản ứng kiệt sức: 10 giây.
  • Hiệu ứng điện áp đường dây: ±0,1 % trên dải điện áp
  • Điện trở cách điện: ≥ 100 MΩ với 500 V DC
  • Độ bền điện môi: 500 V AC @ 1 phút
  • (đầu vào thành đầu ra 1 đến đầu ra 2 thành nguồn)
  • 1500 V AC @ 1 phút (đầu vào hoặc đầu ra hoặc cấp nguồn xuống đất)
Bộ chuyển đổi tín hiệu nhiệt độ 10JR
Bộ chuyển đổi tín hiệu nhiệt độ 10JR

Để biết thêm thông tin chi tiết về Bộ chuyển đổi tín hiệu nhiệt độ 10JR, hãy liên hệ Ms Hanh 0934811476

Để lại một bình luận

Email của bạn sẽ không được hiển thị công khai. Các trường bắt buộc được đánh dấu *